| 분류 | Code | 항목 |
| 주전원 | EB0-01 | 공급점은 필히 1개소로 하고 누전차단기를 설치할 것. |
| 제어회로용 전원 | EB0-02 | 주전원 차단기 2차측으로 부터 절연 변압기를 사용하여 공급할 것. |
| EB0-03 | 변압기 2차 측은 아래 그림과 같이 접지할 것.![]() | |
| EB0-04 | 변압기의 사용 탭은 아래와 같이 할 것. 1차측: AC 420V, 440V, 460V 2차측 : AC 100V, 110V (220V 사용시 200V, 220V, 240V) (1. 2차 심선의 접촉에 의한 안전 및 전장기기 파손 방지) |
|
| EB0-05 | 접지는 반내 접지 모선에 접속할 것. (1, 2차 심선의 접촉에 의한 안전 및 전장기기 파손 방지) | |
| EB0-06 | 사용하는 변압기는 용량의 25%이상의 여유가 있을 것. | |
| 접지 | EB0-07 | 제어회로에 접속되는 기기의 코일측 모선은 접지선에서 연결할 것. |
| 회로구성 | EB0-08 | 제어회로는 보수 점검이 용이하도록 할 것. |
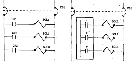
| 안전개폐기 | EB0-09 | 솔레노이드 회로는 다음과 같은 별도의 안전개폐기에 의하여 개폐되도록 회로를 구성할 것. - 솔레노이드 밸브 회로 전용 안전개폐기 - ![]() <릴레이 회로> <PLC 회로> |
| 분류 | Code | 항목 |
| 전자장치 전원 |
EB0-10 | NC등 전자장치에 DC 24V 제어 전원이 필요한 설비의 경우 전자 장치내부 및 외부에 사용하는 표시 램프나 전장품도 DC 24V용을 사용할 것. (전압제어상 문제가 있을 경우 사전승인 득할 것) |
| 비상정지 와이어 |
EB0-11 | 트랜스퍼 머신의 경우 비상정지 와이어는 와이어의 늘어짐을 검지할 수 있는 회로를 구성할 것. |
| 경광등 | EB0-12 | 조작반 상부에 다음과 같은 경광등을 설치할 것. (1) 녹색 : 단체기 (2) 노란색 :트랜스퍼 머신 (3) 적색 : 단체기 및 트랜스퍼 머신 (4) 버저 :단체기 및 트랜스퍼 머신 (상세설치형태는 부록 NO.33참조) |
| EB0-13 | 경광등의 동작 내용은 다음과 같이 할 것. (1) 녹색 램프 : 가공(작동) 완료 (2) 노란색 램프 : 자동기동, 공구교환 예고 자주검사 예고, 절전 중, 소재 무, 풀-워크 (3) 적색 램프 : 설비 이상, 자주검사, 공구교환 (4) 버저 : [자동 운전기동]시, [경고리셋]에서의소재 무 및 풀-워크의 기계휴지 상태로부터 운전은 버저가 5초간 울리고 나서 자동운전에 들어갈 것. (5) 경광등 사양: STF310 (3 단 신호 타워형) * 경광등은 작업자로부터 잘 보이는 위치에 취부할 것(부록 NO. 참조) |
|
| EB0-14 |
트랜스퍼 머신, 자동화 라인용 설비에서는 다음과 같이 할 것. (1) 공구수명예고 및 자주검사 예고시는 노란색 경고 등을 점등시킨다. (2) 공구수명, 자주검사는 노란색 및 적색 경고등을 동시에 점등시킨다. |
|
| 경광등 표시 | EB0-15 | 이상 경광등(적색) 점등시 내용을 쉽게 파악할 수 있도록 최소한의 지정된 별도의 LED를 설치하며 그 외의 모든 이상과 경고. 주의내용은 터치 패널을 사용하여 표시할 것. (1) 별도 설치할 LED 종류 및 색상 W : 유압, 에어, 절삭유 Y : 절전중, 배터리 이상, 제어반 도어 열림 R : PLC이상, PLC 퓨즈 용단, 윤활이상, 모터 과부하, NC이상, 유압이상, 사이클 타임 초과, 비상정지, 기타 필요한 LED 등 |
| 분류 | Code | 항목 |
| 경광등 표시 | EB0-15 | (2) 터치 패널에 표시되어야 할 내용 - 상기(1) 항의 별도 LED로 표시한 이상 내용 및 그 외 - 각종 이상표시 내용 상태표시 - 주의경고 표시내용 - 상태표시 내용 - 생산(일산, 월산) 수량 표시 - 공구교환 및 예고표시 - 자주검사 및 예고표시, PM 점검 시트, - PM 점검 시트 - 외부기기의 고장자기진단 표시 - 상기외 HMC로 부터의 추가 항목 |
| PLC전원 및 노이즈 필터 |
EB0-16 | PLC 전원은 주전원(누전차단기) 2차측에 별도의 전용 변압기를 설치하여 공급하며 전원 공급점에 필히 노이즈 필터를 설치할 것. |
| 표시LED | EB0-17 | 각 주.부조작반에는 설비의 작동상태를 한눈에
확인할 수 있도록 각 동작단에 대한 LED (G :기동위치, W : 동작단) 를 필히 취부할 것. (부록도 16.27.28참조) |
| 제어반 도어 열림 및 형광등 | EB0-18 | 제어반 도어가 전원 ON 상태에서 개방되어 있음을 알리는 노란색 LED를 주조작반에 설치할 것. |
| EB0-19 | 제어반내 형광등은 도어 리미트 스위치 및 토글 스위치에 의해서 ON/OFF 되도록할 것. | |
| 과전류 보호 | EB0-20 | 전력 회로에는 각각의 분기용 배선용 차단기 (배선용 차단기) 를 설치하고 (부록 17참조) 소형 모터는 그룹으로 하여 분기하여도 무방함 (단, 3A이하로 하고 1사이클 작동과 관계없는 모터끼리 모을 것) 주) 모터배선용 차단기는 가급적 누전차단기를 사용할 것. |
| EB0-21 | 전력회로에서 제어회로, 표시등회로, 직류회로 등을 분기하는 장소에는 배선용 차단기(회로 보호기) 를 설치하여 과전류에 의한 제어변압기의 소손을 방지할 것. |
|
| EB0-22 | 전동기는 전자개폐기로 제어하고 각 전동기마다 전자식 모터보호 계전기를 설치할 것. 주) 가역성 모터의 경우 반드시 기계적 인터록이 구성된 전자개폐기를 사용할 것. |
|
| EB0-23 | 전동기의 냉각효과가 좋지 않은 사용환경에서는 온도 검출기가 내장된 전동기를 사용할 것. |
|
| EB0-24 | 전동기의 개폐용 접점은 동시에 개폐 시킬 것. | |
| EB0-25 | 자동 복귀형 과부하보호장치는 재시동에 의한 위험이 발생할 염려가 없도록 자동 재시동을 방지하는 적절한 방법을 취할 것. |
| 분류 | Code | 항목 |
| 오조작 및 오작동의 보호 | EB0-26 | 동력정지, 복구 퓨즈 융단, 과전류 계전기, 버튼 및 절환 스위치의 오조작 등의 어떠한 상황시에도 작업자에게 위험 또는 기계에 장해가 없는 회로 구성으로 할 것. |
| EB0-27 | 자동 운전중에는 비상정지, 비상 복귀 이외의 어떠한 버튼을 눌러도 진행중인 작동은 계속할 것. |
|
| EB0-28 | 상호의 단락, 기계적인 간섭 등의 지장이 있는 계전기, 개폐기 등은 동시에 작동하지 않도록 할것. |
|
| EB0-29 | 전자 밸브로 제어되는 유압, 공압 등의 작동은 어떠한 상태에서 전자 밸브가 무여자 되어도 안전 할것. |
|
| EB0-30 | 가동상태는 제어기구의 여자상태로 하며 정지상태는 원칙적으로 무여자 상태로 할것. |
|
| EB0-31 | 리미트 스위치 등의 오작동(고장포함)에 의해 작업자에게 위험, 기계장해의 발생이 예상되는 경우는 안전장치를 설치할 것. |
|
| EB0-32 | 정.역의 마그네틱 스위치는 필히 기계적 인터록 부착의 부품을 사용할 것. | |
| EB0-33 | 안전회로에 계전기를 사용할 경우, 그 계전기가 안전의 효과를 내지 못할 염려가 있으면 계전기를 2개 설치하여 한쪽이 오작동하여도 안전이 확보되도록 할것. |
|
| 압축공기압력 저하에 대한 대책 |
EB0-34 | 공기 압력이 설정치 이하로 떨어진 경우 압력 스위치에 의해 설비정지 또는 기동하지 않도록 할것. 단, 사이클 도중에서의 정지시는 오작동 또는 언클램프 등의 위험한 작동이 없도록 할것. |
| 정전복구에 대한 대책 |
EB0-35 | 정전후 전원이 회복되었을 때 공작기계가 자동적으로 재기동하여 작업자에게 위험을 주거나, 공작물 또는 공작기계에 손상을 주는 염려가 없도록 할것. |
| 전압강하에 대한 대책 |
EB0-36 | 전압강하에 따른 전기장치의 오작동으로 작업자에게 해로움을 주거나 공작물 또는 공작기계에 손상을 줄 염려가 있을 경우는 부족전압 보호를 할것. |
| 실수방지 | EB0-37 | 자동 운전중에 척(Chuck) 또는 치구 클램프 기구 및 가공 유닛은 실수로 풀림 레버 또는 버튼을 눌러도 작동하지 않을 것. |
| 자동운전 기동방지 |
EB0-38 | 소재 언클램프 중은 자동운전 기동이 되지 않도록회로를 구성할 것. |
| 분류 | Code | 항목 |
| 램프 점등 | EB0-39 | 조작반에 설치한 기동위치 표시등은 조작반 상부에 설치한 각 기동위치 표시의 녹색 램프가 모두 ON한 운전준비 완료 시점에서 점등할 것. |
| 작업등 | EB0-40 | 공구교환, 치구 세팅, 가공확인을 위하여 작업등을 설치하고 조명장치는 200 Lux 이상을 확보할 것. |
| EB0-41 | 조명장치는 칩, 절삭유등에 의하여 손상되지 않도록 보호 커버를 설치 할것. | |
| 자동 도어 | EB0-42 | 자동 도어를 설치한 기계 및 설비는 도어가 닫힌 후 설비가 기동되게 할것. (수동도어 포함) |
| 도어 열림 | EB0-43 | 자동 운전중에 오토 도어를 개방한 경우는 비상정지 조건으로 한다. 단, 각개운전 (수동운전) 으로 절환한 경우 각부의 작동은 도어 개폐와 무관할 것. |
| 변압기의 복수사용 |
EB0-44 | 1 대의 기계에 동일한 전압을 공급하는 복수의 변압기가 있는 경우에는 이들의 변압기 1차측은 그 2차측 전압이 서로 동일한 상이 되도록 접속할 것. |
| 자동운전 기동램프 | EB0-45 | 자동 운전중 공정 이상이 발생한 경우 이상 공정은 즉시 정지로 하지만 다른 공정은 가동 사이클(절삭 사이클)을 진행하고 가공완료 후, 자동운전 기동표시 램프가 소등 되도록 할 것. (트랜스퍼 머신 등) |
| 별도전압 | EB0-46 |
전압장치, 전자 클러치 등을 위한 별도전압이 필요한 경우는 반내에 내장하고 있는 변압기, 정류기 등의 변환기기를 이용할 것. |