배선


분류Code항목
배선색EE0-01

전력회로
교류: R상 ⇒ 적, S상 ⇒ 백,T상 ⇒ 흑
직류 : 흑

EE0-02

직류제어회로
+극 ⇒ 백, -극 ⇒ 흑
* PLC의 경우 입력 : 카드 기준
출력 : 부하 기준
+ 선을 공통선(Neutral 선)으로 사용 할 것.

EE0-03

교류 제어회로 ⇒ 적 0.75SQ이상

EE0-04

설비간 인터록 ⇒ 황 0.75SQ이상

EE0-05

접지 선 ⇒ 녹색


용도별 사용
배선 종류
EE0-06

전력회로 및 제어회로에 사용하는 모든 전선은 KS 또는 IEC규격품을 사용할 것.

EE0-07

모든 전선은 꼬임선(연선) 을 사용 할것.

EE0-08

전선의 절연물은 비닐전선 또는 그것과 동등이상의 화학적 안전성
(예, 윤활유, 절삭유 등) 을 가질 것.

EE0-09

특수상황 (고온 또는 액체 및 용매에 잠기는 전선 등)은 사용 상황에
충분한 절연성을 가질것.

EE0-10

절연물은 조작중 또는 포설중 특히 덕트 삽입중 손상이 없는 기계적 강도가
강한 것을 사용 할것.

EE0-11

케이블 덕트 내부나 비틀림이 발생하는 로봇 기타 상시 움직임이 발생하는
장소에 사용하는 전선은 선정한 전선 제조사에서 보증하는 조건 이상의
충분한 안전상의 여유를 가지고 설치 할 것.

분류Code항목
용도별 사용
배선 종류
EE0-12

어떠한 경우라도 정상적인 사용조건 하에서의 설비 작동중 전선 내부의
단선이나 단락 사고가 발생하지 않도록 할 것.

EE0-13

종 류
1) 주회로
제 어 반 ⇒ KIV
기계 본체 고정부 ⇒ KIV, VCT-F
기계 본체 가동부 ⇒ KIV, VCT-F
고 온 부 ⇒ HKIV
2) 조작회로
제어반내 ⇒ VSF, KIV
기계 본체 고정부 ⇒ VSF, KIV, VCT-F 케이블,
오일 ⇒ VCT-F
기계 본체 가동부 ⇒ 플렉시블 케이블(BT-VCT-F)
고온부 ⇒ HIKV, 내열전선

전선의 굵기EE0-14

회로의 정상운전상태에서 최대 정점 전류를 고려하여 선정할 것.

EE0-15

전압, 전류, 내구성, 내열성 등의 사용조건과 환경을 고려하여 선정 할것.

EE0-16

전동기에 사용하는 전선의 최소선경(굵기) 는 다음과 같이 할것.
단, 굴절 빈도가 높은 장소 및 진동원, 발열체 등의 배선은 1단계 크게 한다.
(440 V기준)
5.5 kW 이하의 전동기 : 2.0 mm2
7.5 kW 이하의 전동기 : 3.5 mm2
11 kW 이하의 전동기 : 5.5 mm2
15 kW 이하의 전동기 : 8.0 mm2
22 kW 이하의 전동기 : 14.0 mm2

반내 배선EE0-17

1차 전원의 인입선은 접속 단자대를 경유하지 않고 제어반 상부로부터
주 전원 차단기(누전차단기) 1차측에 직접 접속할 것.

EE0-18

모든 배선의 접속은 진동으로 풀리지 않을 것.

EE0-19

꼬임선(연선) 을 단자대에 접속시는 전선의 단말을 눌러 끼우는 압착단자를
사용하여 접속할 것.

분류Code항목
반내 배선EE0-20

전선은 중간 접속 없이 단자대에서 배선할 것.
또한 각 배선의 접속은 보수점검이 쉽도록 단자 박스로써 연결할 것.
단자 박스내의 전선 단말은 접속교환이 가능하도록 충분한 길이의 여유를
가질 것.

EE0-21

다심 케이블의 끝부분은 전선의 단말에 인장력이 걸리지 않도록 지지 또는
고정 시킬것.

EE0-22

도어 또는 그의 가동부분에 취부되어 있는 기기로의 배선은 유연성이
있는 배선을 사용하고, 도어의 빈번한 개폐에 의해서도 손상이 없도록 할것.

EE0-23

보호 접지선은 해당되는 기기설비의 배선과 함께 포설하여 결선 할것.

EE0-24

제어반, 조작반 단자 박스내부에서 사용하는 덕트는 차후에 전선의 추가가
가능하도록 그 수용가능용량의 30% 이상의 수납 여유를 가질 것.
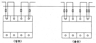
또한 모든 배선은 아래 그림과 같이 덕트 내부에 넣을 것.

EE0-25

동일단자에 접속하는 배선은 2가닥까지로 할것.

EE0-26

전압이 다른 전선은 적절한 차단벽으로 분리하여 배선할 것.
단, 전선에 걸리는 최고전압에 충분히 견딜 수 있는 절연을 가진 경우는
동일 덕트내에 포함할 수 있다.

EE0-27

전압이 다른 선로를 한 개의 다심 케이블로 결선하지 말것.
(예, 동력선과 신호 제어회로는 별도의 케이블사용)

분류Code항목
넘버링 튜브와
압착단자
EE0-28

배선의 압착단자는 Y형을 사용 할 것.(납땜 금지)
단, 동력선의 경우 O형을 사용할 것.

EE0-29

단자 볼트는 +, - 겸용 볼트를 사용할 것.
단, 5.5 mm2를 넘는 것 또는 배선용 차단기 변압기 등의 누름판이 없는
것은 O형 압착단자를 사용 할 수 있음.

EE0-30

단자대 또는 제어기기류에 접속하는 모든 배선의 단말부에 배선번호를
각인한 넘버링 튜브를 끼울 것.

EE0-31

넘버링 튜브는 쉽게 오손, 탈락, 벗겨짐이 발생하지 않게 하고
필히 백색 비닐 튜브를 사용할 것.
(감는 마킹링 또는 분할 마킹링 등은 사용금지)

EE0-32

넘버링 튜브에 각인하는 배선번호는 회로도와 100% 일치 시킬 것

EE0-33

넘버링 튜브 삽입요령은 다음 그림과 같이 쉽게확인 할 수 있을 것.
예) A. 삽입요령


B.접속부 삽입요령 C.삽입방향
분류Code항목
단자 박스 및
단자대
(터미널 B잠금)
EE0-34

단자 박스의 도어는 나비 장석 개폐식으로 하고 도어 잠금 장치는
걸고리를 사용할 것.

EE0-35

단자 박스는 설비 외부에서 개폐가 가능하도록 설치하고 보수점검 작업이
쉽도록 취부 위치(지면으로부터 높이 400 ~1650 mm) 등을 충분히 고려할 것.

EE0-36

단자 박스는 이송 유닛 등의 움직이는 장치나 기름, 분진,절삭유 등이
미치는 장소는 설치하지 말것.

EE0-37

단자 박스내부에는 단자대 이외의 전장품은 취부하지 말것.

EE0-38

단자 박스에 접속하는 박스는 하부 또는 측면에서 배선을 연결할 것.
(박스상부로의 배선은 불가함)

EE0-39

내부에 필히 단자대를 사용하여 접속할 것.

EE0-40

단자대는 명판 부착형을 사용하고 접속된 선 번호를 필히 기입할 것.
(전기 회로도와 일치시킬 것)

EE0-41

단자대에는 안전, 보호용의 투명 커버를 취부할 것.

EE0-42

제어반, 조작반, 단자박스에 취부하는 단자대는 배선의 확인, 보수, 점검이
용이하도록 반내에 충분한 여유를 남길 것.
*특히 각 배선 인입구, 배선덕트 및 단자대 상호간에 간섭이 없을 것.

EE0-43

단자 박스는 기름, 절삭유, 분진, 물 등이 들어 가지 않도록 완전 방수구조로
제작할 것.

EE0-44

지정 이외의 소형 커넥터 등의 배선용 커넥터를 단자대 대용으로 사용하지 말것.

예비선 및
단자대
EE0-45

모든 단자 박스, 제어반, 조작반에는 예비 단자대 및 예비선을 총사용수의
10 % 이상 (최소 5 가닥 이상 최대 20 가닥 까지) 확보할 것.

EE0-46

모든 예비선은 예비번호(SPㅁㅁ) 의 넘버링 튜브를 삽입하고 단말은
모아서 묶음 처리하고 고무 캡을 씌울 것.

분류Code항목
반외 배선EE0-47

기계.설비에 부착된 제어기기류에서 제어반으로 연결하는 배선은
단자박스를 사용하여 접속하는 간접배선 방식으로 할 것.

EE0-48

적절한 보호구조를 가진 케이블 이외의 전선은 강한 기계적 외력에 견딜 수
있는 전선관 (플렉시블 튜브) 또는 덕트내에 있도록 할 것.

EE0-49

기계 가동부로의 접속
1) 전기장치가 취부되어 있는 가동부 또는 조정부의 접속은 유연성이
있는 전선을 사용할 것.
2) 운동을 수반하는 케이블은 그 접속 점에 구부러짐이 발생하거나
극단적인 꺾임이 발생하지 않도록 케이블 덕트 등을 사용할 것.
3) 운동에 수반한 케이블이 가동부분에 근접하여 있는 경우에는 가동부분과
케이블간에 충분한 공간을 유지시켜 간섭이 없도록 할 것.
4) 매달려 있는 굴곡부는 케이블 외경이 최소 10배 이상의 곡률반경이
되게 충분한 길이로 할 것.

EE0-50

플렉시블 튜브는 기름, 절삭유, 칩, 또는 분진의 유입이 없도록 취부 장소
및 취부 방법을 고려할 것.
*금속 플렉시블 튜브는 빠르거나 또는 빈번한 운동을하는 장소에 사용하지 말것.

EE0-51

케이블 덕트 및 플렉시블 덕트는 30% 이상의 여유공간을 둘 것.

분류Code항목
반외 배선EE0-52

전선관의 시공 요령은 아래 그림과 같이 할 것.


1) 전선관 및 케이블 등은 클램프로 고정할 것.

2) 외상의 염려가 있는 장소에 대해서는 보호용 플렉시블 튜브를 설치 할 것.

3) 방수, 방유, 방진을 고려한 금속제 커넥터를 사용할 것.

4) 스위치용 커넥터는 방수형을 사용할 것.(IP68)

5) 노이즈의 방지책으로서 전력선과 제어선을 분리할 것.

6) 근접 스위치 등의 리드선 부착 기기류의 배선은 단자박스 내에서 접속하여 교환하기
쉽도록 할것.

7) 전선관의 단말부분에는 전선의 피복이 손상하지 않도록 적절한 구조의 부싱을
사용할 것.

8) 종류별(기능별) 같은 것 끼리 함께 배선 할 것.

9) 터미널 박스에서의 기기까지의 선로 길이는 2 m 이내로 할 것.

분류Code항목
외부 배선
덕트
EE0-52

전선의 절연피복이 덕트와 접촉할 염려가 있는 모든 부분은 전선 손상을
방지하기 위하여 매끄럽게 할 것.

EE0-53

기계적 손상 또는 마모가 발생하지 않도록 배열하고 고정 시킬 것.

EE0-54

기름, 절삭유가 걸리는 장소와는 간격을 두어 설치하고 공작물 반입장치에
의한 손상을 받지 않도록 할 것.

EE0-55

덕트 내부로 기름, 절삭유, 물, 칩 및 분진이 들어가지 않게 할것.
수평배치의 경우는 상부에, 수직배치의 경우는 측면에 덮개를 취부하고,
나비장석 및 걸고리를 부착하여 쉽게 개폐할 수 있도록 하고 덕트 내에는
전기장치의 배선에 필요한 인출구 이외의 다른 구멍이 없을 것.

EE0-56

덕트 강판 두께는 2.3 mm 이상으로 하여 작업자가 상부에 올라갔을 때나
외부의 충격에 견디는 구조일 것.

EE0-57

덕트내의 배선 포설시 동력선과 제어선을 구분하여 실시하고 전자파,
전원 노이즈 장해가 예상되는 경우는 신호선, 제어선, 동력선 간에
차폐물을 설치할 것.

EE0-58

타장비의 인터록인 아닌 관련 없는 선로는 포설하지 말것.
타장비의 덕트를 이용한 배선은 불가함.