공압 장치


분류Code항목
공통사항U50-01

에어 설계 압력은 4MPa (4 kg/cm2) 이하를 기본으로 할 것.

U50-02

에어의 인입구는 1 개소로 하고 1차 밸브는 OP. 패널 하부에 설치하고
통로측에서 조작 가능할 것.

잔압U50-03

에어를 구동원으로서 이용 시는 전기차단에 의해 에어공급도 차단,
병행하여 잔압을 제거할 수 있도록 구성할 것.

U50-04

잔압 제거 후 자중 낙하 등이 없을 것.

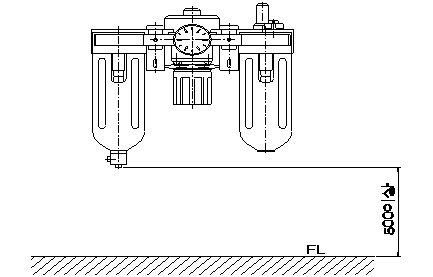
3점 SETU50-05

에어 공급 유닛의 취부는 바닥에서 500 mm 이상의 위치로 하고
오일러는 주조작반 통로측에서 오일량이 확인 되도록 할 것.
(필터의 드레인은 절삭유 드레인 배관을 사용할 것.)
※ 에어 계측회로 착좌 검지회로에는 급유장치(Lubricator)를
취부하지 말것.

필터U50-06

드레인 분출구는 기수분리기 또는 칩 컨베이어 외부로 흘려 바닥을
오염시키지 않도록 할 것. (자동 드레인방식 사용).

U50-07

에어 블로워에는 필터는 필요하지 않도록 할 것. (세정기에는 제외)

분류Code항목
오일러
(Lubricator)
U50-08

오일러 용량은 2 주 (1일/21 시간 가동 기준) 이상 사용이 되도록 할 것.

U50-09
U50-10

에어의 윤활유는 배기 클리너로 회수할 것.

압력계U50-11

압력계는 통로에서 선채로 (웅크리지 않고) 확인되는 위치로 할 것.

U50-12

압력계에는 설정압력 표시 명판을 부착하고 눈금 판에 녹색 마킹할 것.

액추에이터U50-13

협착의 위험성이 있는 액추에이터에는 3 위치제어 솔레노이드 밸브를
사용하고 수동조작은 미세조정이 가능할 것.

U50-14

실린더 스트로크는 200 mm 이상의 경우, 소재의 이탈 방지를 위해
유압 사양으로 할 것.

U50-15

공압 실린더의 작동 확인은 전 /후진단에 설치하고, 리미트 스위치로 하고
압력 스위치는 사용불가

감압 밸브U50-16

각각의 용도에 맞게 최소 압력으로 동작되도록 설치할 것.

소음기U50-17

에어 기기의 배기구에는 소음기를 설치할 것.

기타U50-18

에어 압력저하, 전원 OFF시에 낙하의 위험성이 있는 장소는 기계적 또는
전기적인 낙하방지 장치를 설치할 것.

U50-19

시스템 설계시 에너지 절약 대책을 세울 것.

U50-20

외부 온도가 50˚C 이상인 곳에는 내열성 액추에이터를 사용할 것.

U50-21

에어 실린더는 큐션 사양을 사용할 것.

U50-22

에어 실린더는 기본적으로 끼워 넣는 형식을 사용하지 말고 분해 가능한
구조일 것.