기초 시공도

부록 NO.4


1.기초시공도

1) 앵커 공사를 필요로 하지 않는 설비의 제작을 원칙으로 할 것.
또 필요한 경우에도 그 수는 최소로 할 것.

2) 기초도면 및 소요 자재는 설비 제작사가 준비하고 현장 설치 1 개월 전에 도면 제출할 것.

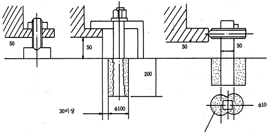
3) 앵커는 다음과 같은 방법으로 할 것.

4) 반송 컨베이어는 1/2 " 이상의 Hole-In 앵커 볼트를 이용하여 앵커링을 할 것.

5) 장비 본체에 가공 유닛에는 레벨 측정 기준면을 설치하여 보전 작업자가 보전이 가능하도록 할 것.
(최소 205 mm x 250 mm)