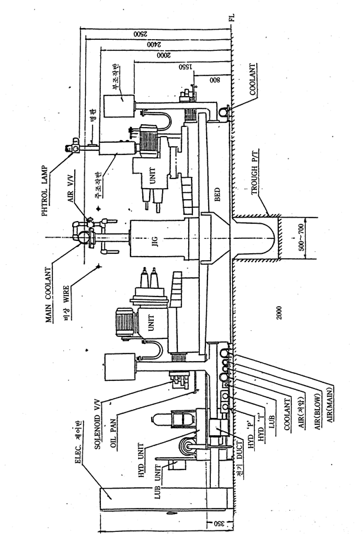
지상 배관도

부록 NO.5