Maker : THK

수나사 부착
내륜폭 (B1) 의 허용차 : 0 ~ -0.1
단위 (mm)
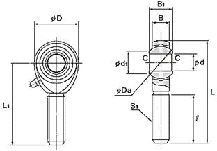
호칭형번외형 치수나사
S1
JIS 2 급
홀더 치수그리스
니플
구면내륜 치수
길이
L

D

B1
B
±0.1
L1d
H7
볼 경
Da
mm
d1C
POS 541168M5x0.863320-511.1127.7
POS 645189M6x16.753622-612.79
POS 8532212M8x1.2594225PB107815.87510.4
POS 10612614M10x1.510.54829PB1071019.0512.9
POS 12693016M12x1.75125433PB1071222.22515.4
POS 14773419M14x213.56036PB1071425.416.9
POS 16853821M16x2156640PB1071628.57519.4
POS 18934223M18x1.516.57244PB1071831.7521.9
POS 201014625M20x1.5187847PB1072034.92524.4
POS 221095028M22x1.5208451PB1072238.125.8
POS 251246031M24x2229457PB1072542.86229.6
POS 301457037M30x22511066A-M6F3050.834.8
허용 경사각 단위 (mm)
호칭 형번허용 경사각정부하 용량
레이디얼
Cs (N)
질량
G
α1 °α2 °α3 &
POS 581330343012.5
POS 681330490019
POS 881425686032
POS 10814251080054
POS 12813251670085
POS 1410162420600126
POS 169152425000185
POS 189152429400260
POS 209152434300340
POS 2210152341200435
POS 259152372500650
POS 30101723922001070
1. 재질
2. 축과의 끼워맞춤 (축의 치수 허용차)

보통하중 : h7 , 방향부정 하중 : p6

3. 좌나사

좌나사의 식별 : 암나사가 좌나사인 경우 "L"을 붙여 나타냅니다. 예) POS 10 L
현품에는 홀더부에 "L"이 마킹되어 있다.

4. 클리어런스

- 레이디얼방향 클리어런스 : 0.035 mm 이하
- 축방향 클리어런스 : 0.1 mm 이하

5. 윤활